Porsche зареєструвала патент на гібридну силову установку, що поєднує в собі компактні та легкі електродвигуни з осьовим магнітним потоком від постачальника Yasa і двигун внутрішнього згоряння.

Патент був зареєстрований у Всесвітній організації інтелектуальної власності (WIPO). Документ поширюється на будь-який легковий автомобіль, проте в ньому окремо згадується застосування «в спортивних автомобілях».
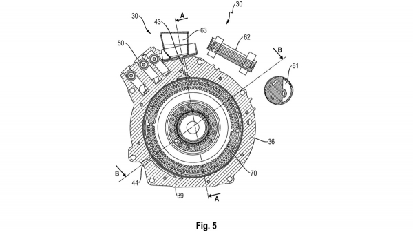
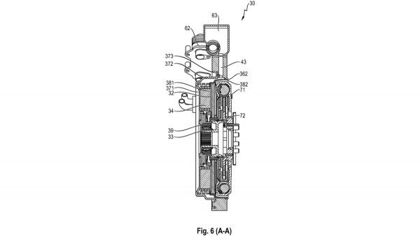
Замість інтеграції відносно великого електродвигуна з радіальним потоком в корпус коробки передач PDK, як це зараз робить Porsche в 911 Carrera GTS, тонкий дисковий електродвигун з осьовим потоком буде розташовуватися між двигуном і трансмісією.
Двигун з осьовим потоком (також відомий як «дисковий двигун») — це електродвигун, у якому магнітний потік проходить паралельно до осі обертання, на відміну від звичайних радіальних двигунів, де потік перпендикулярний до осі. Це дає змогу створювати компактніші, легші та ефективніші конструкції з високою питомою потужністю та крутним моментом, особливо на низьких швидкостях.
Патентом передбачено, що електродвигун і двигун внутрішнього згоряння працюватимуть разом через коробку передач із подвійним зчепленням. Завдяки надтонкій конструкції електричного двигуна (товщина в деяких сучасних моделях становить лише 7,9 сантиметра), він не збільшить довжину всієї силової установки.





1
2
3
4
5
Стверджується, що така конструкція сприяє меншому тепловиділенню. У поєднанні з проникною камерою у формі чаші або дзвона, описаної в документі, електродвигун, і двигун внутрішнього згоряння повинні отримувати достатнє охолодження. Головне питання: скільки потужності може створювати ця гібридна система?
Відомо, що найпродуктивніші агрегати Yasa досягають потужності понад 470 к.с. і крутного моменту 800 Нм. Гібридний Ferrari SF90 використовує три двигуни Yasa загальною потужністю 217 к.с., тоді як два двигуни Lamborghini Revuelto розвивають трохи менше ніж 296 к.с. Проте обидві ці системи працюють у парі з великими двигунами V8 і V12.
Якщо Porsche встановить новий двигун з осьовим потоком у парі з 3,6-літровим турбодвигуном, загальна потужність може перевищити 800 к.с.
